Skip to Content

CNI-044 Swimming Pool Safety Regulations

Permit and Resource Management Department Banner 750

Updated 09/26/2018, Reviewed 01/2020

For purposes of this Section, “private swimming pool” shall include any structure, whether in-ground or above ground, designed or used for swimming or recreational bathing that contains water in excess of 18 inches deep.

Reference ARTICLE 2.5. The Swimming Pool Safety Act: Whenever a building permit is issued for the construction of a new swimming pool or spa or the remodeling of an existing swimming pool or spa at a private single-family home, the respective swimming pool or spa shall be equipped with at least two of the following seven drowning prevention safety features:

  1. The pool shall be isolated from access to the home by an enclosure that has all of the following characteristics:
    1. Any access gates through the enclosure open away from the swimming pool, and are self-closing with a self-latching device placed no lower than 60 inches above the ground.
    2. A minimum height of 60 inches.
    3. A maximum vertical clearance from the ground to the bottom of the enclosure of 2 inches.
    4. Gaps or voids, if any, do not allow passage of a sphere equal to or greater than 4 inches in diameter.
    5. An outside surface free of protrusions, cavities or other physical characteristics that would serve as handholds or footholds that could enable a child below the age of five years to climb over.
  2. Removable mesh fencing that meets American Society for Testing and Materials (ASTM) Specifications F2286 standards in conjunction with a gate that is self-closing and self-latching and can accommodate a key lockable device.
  3. The pool is equipped with a manually or power-operated safety pool cover that meets all of the performance standards of the ASTM, in compliance with standard F1346-91. If the safety pool cover is electrically operated, the control for the pool cover shall be mounted at least 60 inches above grade or above the floor.
  4. Exit alarms on the private single-family home’s doors that provide direct access to the swimming pool or spa. The exit alarm may cause either an alarm noise or a verbal warning, such as a repeating notification that “the door to the pool is open.”
  5. A self-closing, self-latching device with a release mechanism placed no lower than 54 inches above the floor on the private single-family home’s doors providing direct access to the swimming pool or spa.
  6. An alarm that, when placed in a swimming pool or spa, will sound upon detection of accidental or unauthorized entrance into the water. The alarm shall meet and be independently certified to the ASTM Standard F2208 “Standard Safety Specification for Residential Pool Alarms,” which includes surface motion, pressure, sonar, laser, and infrared type alarms. A swimming protection alarm feature designed for individual use, including an alarm attached to a child that sounds when the child exceeds a certain distance or becomes submerged in water, is not a qualifying drowning prevention safety feature.
  7. Other means of protection, if the degree of protection afforded is equal to or greater than that afforded by any of the features set forth above and has been independently verified by an approved testing laboratory as meeting standards for those features established by the ASTM or the American Society of Mechanical Engineers (ASME).

New pools and spas shall have at least two circulation drains per pump that shall be hydraulically balanced and symmetrically plumbed through one or more “T” fittings, and that are separated by a distance of at least three feet in any dimension. Suction outlets that are less than 12 inches across shall be covered with anti-entrapment grates, as specified in ASME/ANSI Standard A112.19.8 that cannot be removed except with the use of tools.

Remodeled or modified pools and spas are required to have the suction outlet of the existing pool/spa upgraded to be equipped with an anti-entrapment cover meeting the current standards.

Spas that are equipped with locking safety covers that comply with ASTM-ES 13-89 shall be exempt from these regulations.

All plans submitted to the county for swimming pools to be constructed shall show compliance with the following requirements.
  1. Pool plans, specifications and design calculations shall be prepared by a civil or structural engineer, licensed to practice in the State of California. Design criteria may include, but not necessarily be limited to, considerate of geologic, geographic and topographic features of a pool site, groundwater, soil conditions performance standards and maintenance requirements. The building official may require whatever information he deems necessary to satisfy himself that a pool design protects the public health and safety.
  2. All plans shall have a plot plan and at least one cross-section through the foundation.
  3. A detail of proposed fencing and /or specifications of the approved safety features to be used will be required for plan checking.
  4. For pool design and construction, soils in Sonoma County shall be assumed to be expansive unless the owner can show by actual soil tests, performed by a recognized soil testing laboratory, that the soils are not expansive. The soil around the pool shall slope away from it to prevent surface waters from draining into the pool and to prevent ponding, or a drainage system shall be provided to collect surface water.
  5. Final inspection, approval and use of all pools constructed shall be withheld until all of the necessary requirements have been complied with.

NOTE: Public or semi-public swimming pool plans shall be approved by the County public health officer.

Receptacles adjacent to pools:

Receptacles that provide power for water-pump motors or for other loads directly related to the circulation and sanitation system shall be located at least ten (10) feet from the inside walls of the pool, but may be reduced to six (6) feet provided the receptacles meet all of the following provisions:

  1. Consist of a single receptacle or one duplex receptacle
  2. Employ a locking configuration
  3. Are of the grounding type
  4. Have GFCI protection
  5. The receptacle(s) must be tamper resistant

No fewer than one 125-volt, 15- or 20-ampere receptacle on a general purpose branch circuit shall be located not less than six (6) feet from, and not more than twenty (20) feet from, the inside wall of the pool. This receptacle shall be located not more than six (6) feet, six (6) inches above the floor, platform, or grade level serving the pool.

All receptacles located within twenty (20) feet of the inside walls of a pool shall be protected by a ground-fault circuit interrupter. No receptacles shall be within six (6) feet of the inside walls of a pool. All measurements shall be taken as the shortest path an appliance cord connected to the receptacle would take without piercing any permanent barriers.

Wet-Niche Light Fixtures

Listed Junction box with threaded conduit entries is supported by an independent box support or per the box listing. The junction box is minimum 8 inches above the maximum water level. The junction box is connected to service or approved remote panelboard with rigid, Intermediate Metal Conduit (IMC), or nonmetallic conduit. Wet niche fixtures, 120 volts, are connected to the junction box with brass, nonmetallic, or approved equivalent conduit. Fixtures are located below the normal water level minimum 18 inches.  Upward facing luminaires shall either:  1. Have the lens guarded to prevent contact, or 2. Be listed for use without a guard. Nonmetallic conduit requires #8 green insulated equipment grounding conductor.

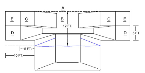
Requirements for Lighting at Outdoor Pools

Requirements for Lighting at Pool

  1. Luminaries, lighting outlets, and ceiling suspended (paddle) fans permitted above 12 feet.
  2. Luminaries, lighting outlets, and ceiling suspended (paddle) fans not permitted below 12 feet.
  3. Existing luminaries and lighting outlets permitted in this space if rigidly attached to existing structure (GFCI required).
  4. Luminaries and lighting outlets permitted if protected by a GFCI.
  5. Luminaries and lighting outlets permitted if rigidly attached.

Pool Bonding

Use 8 American wire gauge (AWG) solid copper bonding conductor, connected with exothermic weld or pressure connector or clamp (CWP2JU Brown pipe clamp, ESB8 Bronze split bolt, or approved equivalent). All metal parts within 5 feet horizontal and 12 feet vertical from inside wall of pool shall be bonded. For example: metal window frames, pool pump equipment, pool ladder, diving boards, etcetera. Equipotential bonding grid consisting of reinforcing steel or 12 inches by 12 inches grid of #8 American wire gauge (AWG) bare solid copper. Grid extends 3 feet horizontally beyond the inside walls of the pool which includes unpaved surfaces as well as poured concrete and other types of paving (for example: stone, tile, pavers).
Bonding to the perimeter surfaces shall be attached to the pool reinforcing steel or copper conductor grid at minimum of 4 points uniformly spaced around the perimeter of the pool. An intentional bond of a minimum conductive surface of 9 square inches shall be installed in contact with the pool water. This bond shall be permitted to consist of parts that are required to be bonded.